| OddMix RADIOTECHNICS - 1936 RADIO |
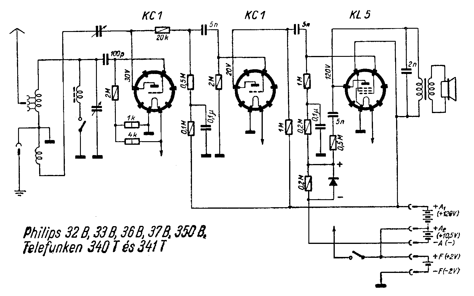
Philips 32B Three Tube Radio 1936 Vintage Restoration Data Schematic Page 2
This simple regenerative AM receiver used no line transformer as it was made to operate from batteries with three different voltages. A two volt cell was used for the tubes filament, a 10.5 volt for the grid voltage and a 120 volt battery for the anode supplies. The set used two standard KC1 triode and a KL5 pentode tubes in its circuit. The KC1 reflex audion tube was coupled to another KC1 audio amplifier triode stage followed by the power output KL5 audio output stage.
![Philips 32B Three Tube Radio 1936 Vintage Restoration Data Schematic [10 KB]](px/r36_philips_32b.gif)
| Copyright © 2015 K Nagy - http://www.OddMix.com - All Rights Reserved Page Revised: 2015-01-01 - - Privacy Policy - Site Map - Support | ![]() |
