| OddMix RADIOTECHNICS - 1936 RADIO |
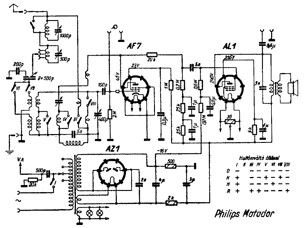
Philips Matador Three Tube Radio 1936 Vintage Restoration Data Schematic Page 2
This simple regenerative receiver used a power transformer made with taps for all the many differing line voltages of the time, from 100 VAC to 240 VAC at 50 Hz. The set used a full wave rectifier using the standard AZ1 power rectifier dual diode tube. The AF7 reflex audion was followed by the powerful AL1 audio output stage. Audio input is provided for the record player, coupled directly to the base of the AF7.
![Philips Matador Three Tube Radio 1936 Vintage Restoration Data Schematic [14 KB]](px/r36_philips_matador.gif)
| Copyright © 2015 K Nagy - http://www.OddMix.com - All Rights Reserved Page Revised: 2015-01-01 - - Privacy Policy - Site Map - Support | ![]() |
