| OddMix RADIOTECHNICS - 1936 RADIO |
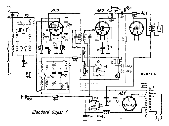
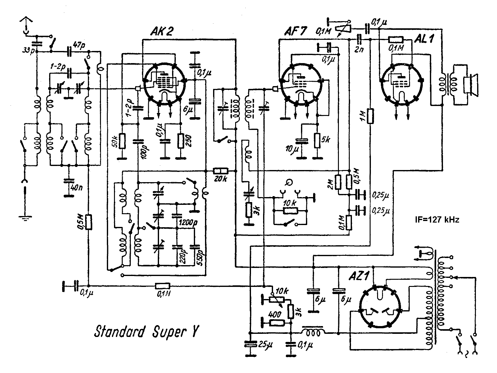
Standard Super Y Four Tube Radio 1936 Vintage Restoration Data Schematic Page 2
The power transformer is made with taps for all the many differing line voltages of the time, from 100 VAC to 240 VAC at 50 Hz. The set used a full wave rectifier using the standard AZ1 power rectifier dual diode tube. The AK2 ocillator converter followed by the AF7 IF amplifier tube worked as a demodulator and audio preamplifier. The audio amlifier stage used the powerful AL1. This set, as many others at the time, used the speaker magnet coil - located in the power supply section on the schematic, where it works as a power supply filter coil.
![Standard Super Y Four Tube Radio 1936 Vintage Restoration Data Schematic [16 KB]](px/r36_standard_super_y.gif)
| Copyright © 2015 K Nagy - http://www.OddMix.com - All Rights Reserved Page Revised: 2015-01-01 - - Privacy Policy - Site Map - Support | ![]() |
