| OddMix RADIOTECHNICS - 1938 RADIO |
Orion 56 Three Tube Audion Radio 1938 Vintage Restoration Data Schematic Page 2
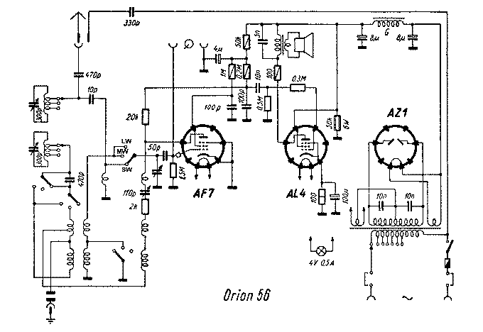
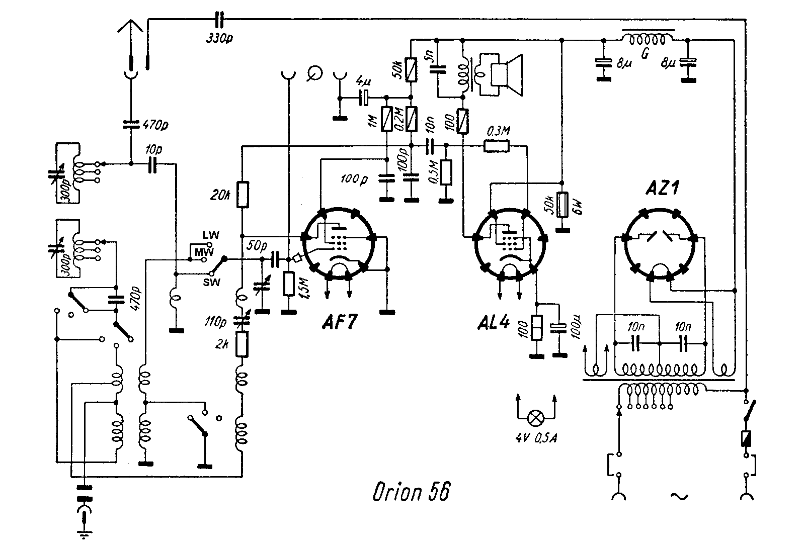
The power transformer made with taps for all the many differing line voltages of the time, from 100 VAC to 240 VAC at 50 Hz. The set used a full wave rectifier using the standard AZ1 power rectifier dual diode tube. The AF7 reflex audion was followed by the powerful AL4 audio output stage. Audio input is provided for the record player, coupled directly to the base of the AF7. This set, as many others at the time, used the speaker magnet coil as a power supply filter coil.
![Orion 56 Three Tube Audion Radio 1938 Vintage Restoration Data Schematic Page 2 [12 KB]](px/r38_orion_56.gif)
| Copyright © 2015 K Nagy - http://www.OddMix.com - All Rights Reserved Page Revised: 2015-01-01 - - Privacy Policy - Site Map - Support | ![]() |
