| OddMix RADIOTECHNICS - 1940 RADIO |
EKA 2140 Three Tube Audion Radio 1940 Vintage Restoration Data Schematic Page 2
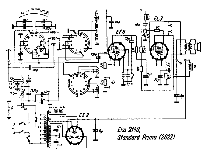
The power transformer made with taps for all the many differing line voltages of the time, from 100 VAC to 240 VAC at 50 Hz. The set used a full wave rectifier using the standard EZ2 power rectifier dual diode tube. The EF6 reflex audion was followed by the powerful EL3 audio output stage. Audio input is provided for the record player, coupled directly to the base of the AF7. This set, as many others at the time, used the speaker magnet coil as a power supply filter coil. This exact set was also sold by the Standard Company under the name 2022 Prima.
![EKA 2140 Three Tube Audion Radio 1940 Vintage Restoration Data Schematic Page 2 [15 KB]](px/r40_eka_2140.gif)
| Copyright © 2015 K Nagy - http://www.OddMix.com - All Rights Reserved Page Revised: 2015-01-01 - - Privacy Policy - Site Map - Support | ![]() |
