| OddMix RADIOTECHNICS - 1940 RADIO |
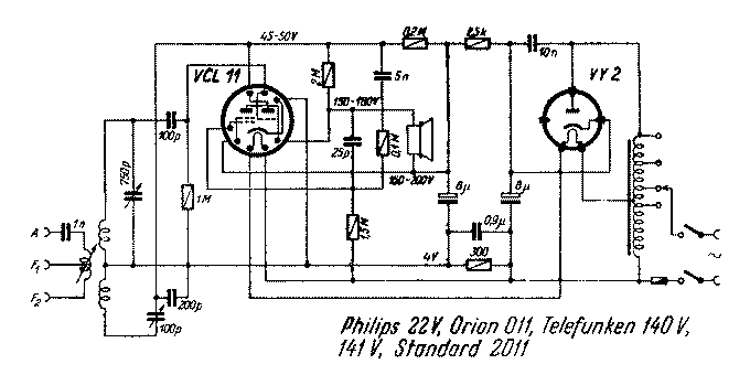
Orion 011 Two Tube Audion Radio 1940 Vintage Restoration Data Schematic Page 2
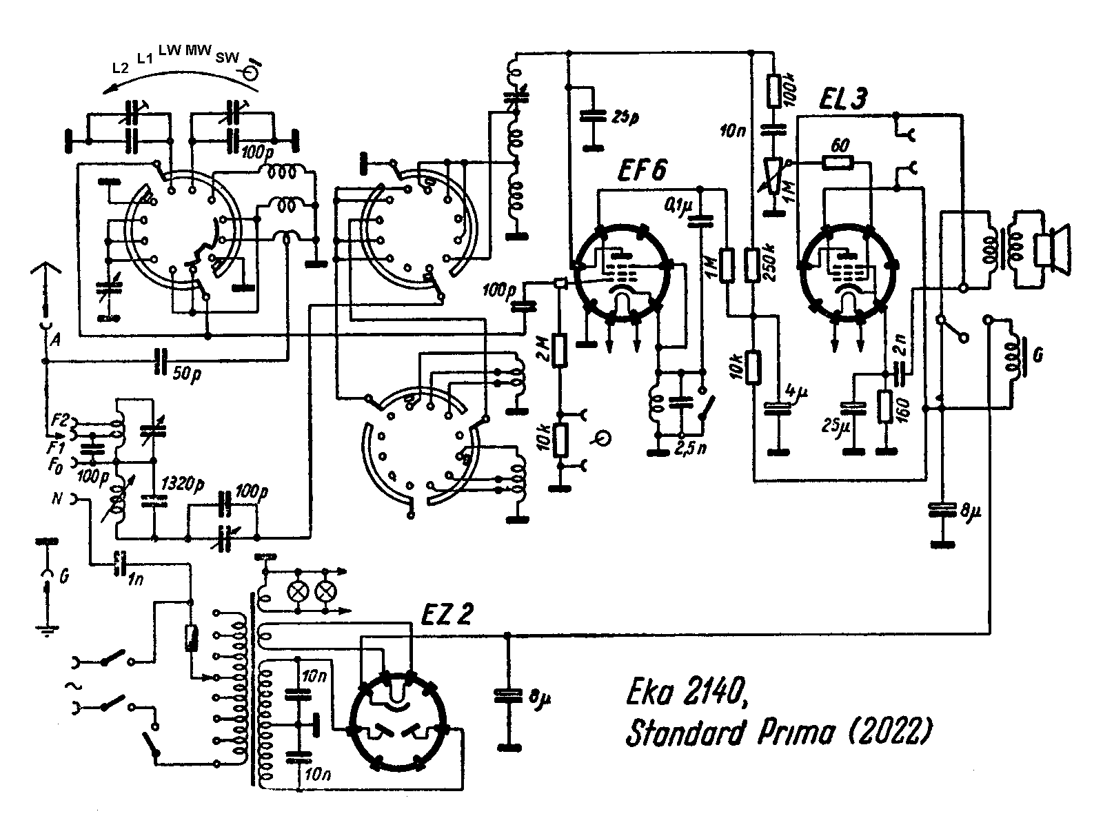
The power transformer made with taps for all the many differing line voltages of the time, from 100 VAC to 240 VAC at 50 Hz. The set used a half wave rectifier using the standard VY2 power diode tube. The VCL11 tetrode half used as a reflex audion and its triode part as the audio output stage. This was a cleaver design, a single band, wartime economy set that used a permanent magnet in the speaker instead of the field winding to save copper that was in a short supply. This exact set was also sold as the Philips 22V, Telefunken 140V, 141V, and Standard 2011.
![Orion 011 Two Tube Audion Radio 1940 Vintage Restoration Data Schematic Page 2 [15 KB]](px/r40_orion_011.gif)
| Copyright © 2015 K Nagy - http://www.OddMix.com - All Rights Reserved Page Revised: 2015-01-01 - - Privacy Policy - Site Map - Support | ![]() |
